»çÁø±â¸¦ ¿¹·Î ¼³¸íÇÑ´Ù.
ºÒ¼Ò¼öÁö´Â ¿Âµµ°¡ ³ôÀº Á¤ÂøºÎºÐÀ» Áß½ÉÀ¸·Î ÀÌ¿ëµÇ°í ÀÖ´Ù.
Á¤Âø ·Ñ¿¡´Â PTFE³ª PFAµµ·á°¡ ¶Ç °¡¾Ð roller¿¡¼± ºÒ¼Ò °í¹«³ª PFA tube°¡ Åä³Ê ºÎÂø¹æÁö(³Çü¼º) ¸ñÀûÀ¸·Î »ç¿ëµÈ´Ù. Á¤Âø ·Ñ·ÎºÎÅÍ Á¾À̸¦ ¹Ú¸®Çϱâ À§ÇÑ ¹ßÅé ¸ð¾çÀÇ ºÎǰ¿¡µµ PTFE°è³ª PFA°èÀÇ µµ·á°¡ ÄÚÆÃµÇ¾î ÀÖ´Ù.
±× ¿Ü ¿ø°í slideÀç, Àü»ç ·Ñ, º£¾î¸µ µî¿¡ PTFE, PFA°èÀÇ ÄÚÆÃǰ µîÀÌ »ç¿ëµÈ´Ù.
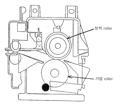
¿ roller ¹æ½ÄÀÇ º¹»ç±â

È»ìÇ¥ Á¤Âø roller ¹× °¡¾Ð roller¿¡´Â ºÒ¼Ò¼öÁö°¡ ÄÚÆÃµÇ¾î ÀÖ´Ù.